MF系列脉冲布筒滤尘器
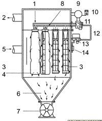
积附在滤袋外壁的粉尘不断增加.当阻力在限定(一般为80-120毫米水柱)的范围内,就要清除积附在滤袋外壁的粉尘,清灰是由控制仪定期顺序触发各控制阀,开启脉冲阀,使气包内的压缩空气由喷吹管孔喷出(一次风)通过文氏管诱导数倍于一次风的周围空气(二次风)进入滤袋,使滤袋在一瞬间急剧膨胀并伴随着气流的反向作用.被抖落的粉尘落入灰门经排灰阀排出机体。
|
1.压缩气口 2.清洁气体出口 3.滤网架 4.滤网袋 5.空气进口 6.粉尘收集箱 7.旋转下料阀 8.文氏管 9.供气口 10.压力开关 11.膜片阀 12.(辅助)气控管 13.电磁阀 14.顺序控制器 |
|
|
|
MF48 |
MF60 |
MF72 |
MF84 |
MF96 |
MFl08 |
MFl20 |
|
A |
3530 |
3530 |
3530 |
3530 |
3530 |
3530 |
3530 |
|
B |
3287 |
3287 |
3287 |
3287 |
3287 |
3287 |
3287 |
|
C |
2550 |
2552 |
2552 |
2552 |
2552 |
2552 |
2552 |
|
D |
1160 |
1160 |
1160 |
1160 |
1160 |
1160 |
1160 |
|
E |
1350 |
1650 |
1950 |
2250 |
2550 |
2850 |
3150 |
|
F |
1350 |
1350 |
1350 |
1350 |
1350 |
1350 |
1350 |
|
G |
635 |
635 |
635 |
635 |
635 |
635 |
635 |
|
H |
325 |
475 |
625 |
775 |
925 |
1075 |
1225 |
|
J |
1586 |
1586 |
1586 |
1586 |
1586 |
1586 |
1586 |
|
K |
790 |
790 |
790 |
790 |
850 |
850 |
850 |
|
L |
824 |
824 |
824 |
824 |
880 |
880 |
880 |
|
M×N |
400×500 |
500×500 |
600×500 |
700×600 |
700×600 |
800×600 |
800×600 |
|
P×Q |
432×530 |
530×530 |
600×530 |
728×630 |
728×630 |
832×630 |
832×630 |
|
R×S |
1050×1050 |
1350×1050 |
1650×1050 |
1950×1050 |
2250×1050 |
2550×1050 |
2850xl050 |
技术参数
|
|
MF24 |
MF36 |
MF48 |
MF60 |
MF72 |
MF84 |
MF96 |
MFl20 |
|
|
过滤面积(m2) |
18 |
27 |
36 |
45 |
54 |
63 |
72 |
90 |
|
|
滤袋数量(只) |
24 |
36 |
48 |
60 |
72 |
84 |
96 |
120 |
|
|
过滤风速(L/m2/s) |
20-40 |
||||||||
|
过滤风量(mm2/s) |
1300-2600 |
1950-3900 |
2600-5200 |
3240-6480 |
390-7800 |
4550-9100 |
5200-10500 |
6500-13000 |
|
|
^大外形尺寸(mm)
|
长 |
1000 |
1400 |
1800 |
2200 |
2600 |
3000 |
3560 |
4360 |
|
宽×高 |
1450×3700 |
1450×3850 |
1450×4100 |
||||||
|
脉冲阀数量 |
4 |
6 |
8 |
10 |
12 |
14 |
16 |
20 |
|
|
清灰装置
|
耗用压缩空气量(m3/min) |
0.07-0.30 |
0.11-0.40 |
0.15-0.50 |
0.18-0.60 |
0.22-0.60 |
0.25-0.90 |
0.29-0.90 |
0.37-0.90 |
|
压缩空气压力(kg/cm2) |
5-7 |
||||||||
适用范围广泛应用于冶金、铸造、矿山、化工、医药、饲料、粮食加工等行业的通风除尘和粉尘回收。

